3D打印飞机 航空巨头空客欲用新专利造出整架飞机
3d打印机价格表,3d打印设备价格,3d打印机,3d打印技术,3d打印材料,3d打印模型,3d打印飞机
专利是现代企业的一项重要知识产权,谁拥有了专利数多,谁拥有的专利质量高则意味着谁在企业发展中取得先机。近日,法国航空制造巨头空客公司申请了一项关于新型3D打印技术的专利,该技术有可能会彻底改变规模制造,甚至可能导致3D打印出整架飞机的能力。该工艺运用了大量材料方面的知识,并充分利用了3D打印对象对其冷却过程中出现内部应力做出的反应。

根据空客公司的专利申请材料,该技术主要使用一种类似于选择性激光烧结(SLS)的技术,把钛、铝等金属粉末材料融合在一起,首先会形成一个壳状的结构,将金属粉末沉积在上面,然后用激光对壳状结构和金属粉末进行加热,使其共同融化、粘合成部件。

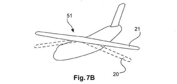
上图最左边的图显示的是飞机落地时的状态,其他两张显示的是飞机在飞行时的状态。机舱的重量很大程度上决定了飞机是否能达到优化的形状。
当部件冷却时,其新形成的多材料金属层的内部应力将导致整个部件朝着预定方向或者曲线弯曲,这主要是由于壳结构和金属在冷却时以不同的速率收缩导致的。一旦这个部件完全固化,部件将拥有特定的结构完整性,比使用传统制造方法强度更高。

使用这种技术制造出来的飞机,能够承受住飞机在运行当中的剧烈条件而不丧失任何气动特征。并且,3D打印得部件将更轻,使用的材料更少,结构也更加稳定。引入部件内部的应力实际上可以带来更多的稳定性,使其强度更高,让飞机承受更多的重量。

根据部件的几何形状设计的差异,在飞机登陆地面时,机翼会变直,在起飞的过程中会变形。整个过程似乎有悖科学常理,但实际上有有着坚实的科学道理,比如,几个世纪以来,很多家具制造商都会使用这一原理来增强他们的设计。当应力点以这样的一种方式被施加到家具的另一个部件上时,家具的这个部分将提供更多的强度和稳定性。
这项技术听起来有点像4D打印的概念,都是利用部件内部不同材料形状的变化导致整个部件的几何形状产生改变。该技术目前处于申请阶段,空客并未仔细描述其技术细节,也不知道是否能够实现。但可以感觉到的是,这将是一项非常有意思的技术。
如果空客的新专利最终投入生产,那么将可以大大降低飞机的制造成本,减少飞机的生产时间,从而让飞机更廉价,到时也许不是超级富豪才买得起私人飞机了。
本文部分内容来源于中关村在线
我们的官方微信:CKLM88
e键打印(m.tribal17.com)专注企业级3D打印服务(个人也可打印),是一个3D打印平台,无论你我还是他,都能在上面进行3D打印的3D打印服务平台。也可以动动手指,扫描关注我们e键打印微信公众号。
