在进行钣金折弯加工的过程中,经常会有U形零件的钣金件加工,那么,进行U形零件加工有哪些操作要点是需要注意的呢?我们一起来看看:

1、上模选择标准直刀模,下模槽宽按标准计算方法板厚的6倍进行选择,无特殊工艺要求不能改变模宽进行折弯加工。
2、折弯前仔细测量板料尺寸,如尺寸有误差要通过调整编程尺寸参数予以调整,保证重要尺寸精度。
3、条形板料会有不同程度侧向弯曲,必须校正后再进行折弯,否则不许加工。
4、通常在加工一道弯边后零件也会出现侧向,要进行矫正后再进行下一道折弯。
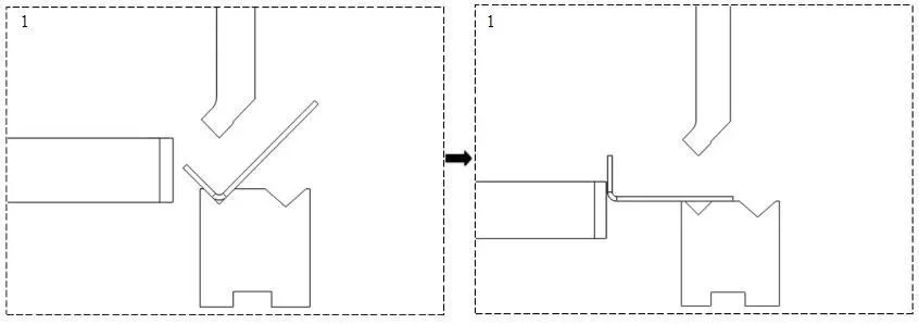
5、为防止零件发生变形,第二道折弯要用零件中间尺寸作为定位尺寸,并用第一道折弯顶靠挡尺进行折弯。(见图1)

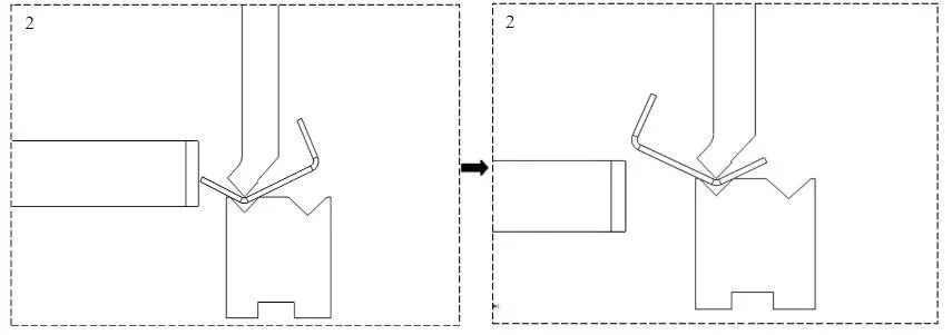
6、为保证两端弯边尺寸相同,可以采用先折出大角度后,调转方向进行二次加工成形。(见图2)

以上就是十几年钣金折弯经验的老师傅介绍的要点,希望对大家有所帮助。e键打印作为betway88官网手机 服务大型平台,钣金件制作已超过12000件,各类配套的后处理工艺齐全,欢迎大家现在就咨询在线客服,体验我们不一样的服务!